Properties moulded thin-film nanostructure
- Authors: Zelenskiy V.I.1, Troyan P.E.2
-
Affiliations:
- Yugra State University
- Tomsk State University of control systems and radio electronics
- Issue: Vol 11, No 2 (2015)
- Pages: 53-57
- Section: Articles
- Published: 15.06.2015
- URL: https://vestnikugrasu.org/byusu/article/view/7323
- DOI: https://doi.org/10.17816/byusu201511253-57
- ID: 7323
Cite item
Full Text
Abstract
Are considered: technology of reception of thin-film frame metal-dielectric-metal; the properties got by frame as a result of electrical moulding in strong electric field in vacuo: volt-ampere characteristic, issue of electrons in vacuum. The model of resulting electrical moulding of nanostructure is discussed.
Full Text
Введение
Тонкопленочная структура металл – диэлектрик – металл (МДМ-структура) приобретает новые физические свойства (вольтамперная характеристика тока с участком отрицательного дифференциального сопротивления, эмиссия электронов в вакуум) после того, как подвергается электрической формовке в вакууме [1].
В связи с тем, что с течением времени сила тока через МДМ-структуру необратимо возрастает, целесообразно применение импульсного режима [2].
Измерения быстродействия эмиссии электронов из МДМ-структуры показывают, что временная задержка импульса тока эмиссии относительно импульса напряжения между электродами не превышает 10 нс.
Цель исследования
Важной особенностью импульсного режима является увеличение максимального напряжения между электродами МДМ-структуры, в результате чего существенно расширяется диапазон изменения эмиссионного тока.
Исследования импульсных токов показывают, что импульс тока эмиссии повторяет форму импульса напряжения, приложенного между электродами МДМ-структуры, независимо от исходного состояния образца, в то время как параметры импульса тока, протекающего между электродами МДМ-структуры, существенно зависят как от предыдущего воздействия на образец, так и от параметров импульса напряжения.
Методы исследования
Методом задерживающего потенциала установлено, что функция распределения по энергии электронов, эмитированных в вакуум из МДМ-структуры, соответствует функции распределения Максвелла с температурой в зависимости от напряжения между электродами.
Многочисленные измерения показывают, что справедливым является следующее соотношение между – силой тока, протекающего через МДМ-структуру, и – силой тока эмиссии в вакуум: , где – коэффициент токопереноса, имеющий значение . В этой связи целесообразным является изучение причин возникновения и закономерностей протекания тока через МДМ-структуру.
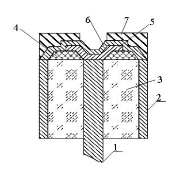
Рисунок 1 – Конструкция образца с МДМ-структурой: 1 – центральный металлический ввод (нижний электрод); 2 – внешний металлический цилиндр;3 – изолятор; 4 – защитный диэлектрик; 5 – диэлектрический слой; 6 –тонкий металлический слой (верхний электрод); 7 – контакт к верхнему электроду
На рис. 1 приведена схема образца, используемого в эксперименте. Тонкопленочные элементы МДМ-структуры наносятся на торцевую гладкую поверхность металлического стержня (ввода) 1. Электрические контакты к электродам МДМ-структуры осуществляются посредством ввода 1 – к нижнему электроду и поверхности внешнего металлического цилиндра 2 – к верхнему тонкому электроду 6.
Надежность контакта к тонкой металлической пленке верхнего электрода 6 обеспечивается напылением проводящего слоя металла 7 толщиной 0,5–0,6 мкм. С помощью защитного диэлектрика 4 возможно изготовление МДМ-структур с различной площадью.
При необходимости возможно изготовление нижнего электрода МДМ-структуры путем напыления металлического слоя на торец ввода 1.
Электрическая формовка, в результате которой МДМ-структура приобретает новые свойства, протекает в локальных участках диэлектрика, примыкающих к микроостриям электрода [3, 4]. При этом для увеличения электрической прочности диэлектрика требуется использование электродов с минимальными микронеровностями, а для осуществления электрической формовки необходима развитая система микроострий на поверхности электрода.
Обсуждение экспериментальных результатов
Эксперименты по электрической формовке МДМ-структур с различными материалами верхнего электрода показали, что наибольшей скоростью и степенью формовки, определяемой как отношение силы тока в максимуме вольтамперной характеристики к силе тока в минимуме (рис. 2), обладают структуры с электродами из Au, Ag, Cu. Существенно медленнее процесс электрической формовки протекает в системах с электродами из Al, Mg, Ba.
Данные ОЖЕ – спектроскопии указывают, что при напылении металлического электрода атомы металла могут в различной степени проникать в пленку диэлектрика. В системах в пленке диэлектрика присутствует до 10 % атомов молибдена, тогда как в системе доля количество атомов индия не превышает 2–3 % в объеме диэлектрика и достигает 30 % вблизи границы верхний электрод-диэлектрик.
Для оптимального осуществления электрической формовки следует использовать в качестве верхнего электрода МДМ- структуры тонкую пленку из алюминия, полученную методом термического испарения в вакууме при температуре подложки 550–600 К и диэлектрическую пленку на основе оксинитрида кремния толщиной 50–80нм, полученную методом ионно-реактивного распыления.
Общие закономерности электрической формовки проявляются в том, что при приложении напряжения между электродами МДМ-структуры, находящейся в вакууме при давлении мм рт. ст., через некоторое время (1–3 минуты) возникает и интенсивно возрастает с течением времени ток, протекающий через образец. Окончанием электрической формовки можно считать момент, когда ток через МДМ- структуру приобретает тенденцию к медленному возрастанию с течением времени.
Изменения вольтамперной характеристики тока через МДМ-структуру в процессе электрической формовки приведены на рис. 2.
Рисунок 2 – Вольтамперная характеристика МДМ-структуры с участком отрицательного дифференциального сопротивления, при последовательных циклах измерения 1–9
В результате электрической формовки на поверхности верхнего электрода МДМ-структуры возникают светящиеся точки, количество и параметры которых изменяются с течением времени. Экспериментально доказано, что области свечения совпадают с центрами эмиссии в вакуум, что дает возможность по картине свечения оценивать распределение эмиссионных центров МДМ-структуры.
Электронно-микроскопические исследования показали наличие на поверхности МДМ-структуры образований двух типов, которые существенно отличаются друг от друга [5]: каналов пробоя и формованных каналов. Каналы пробоя на поверхности электрода имеют диаметр 1–20 мкм, в то время как диаметр формованных каналов составляет 0,01–0,05 мкм. Поверхностная плотность составляет 102 ¸ 103 см-2 для каналов пробоя и 102 ¸ 107 см-2 для формованных каналов соответственно.
Исследования МДМ-структур, выполненные методом электронно-зондового рентгеновского микроанализа (рис. 3), показывают на существенное (с 35 % до 13 %) уменьшение концентрации материала верхнего электрода в области формованного канала и увеличение концентрации несвязанного кремния (с 42 % до 84 %).
Рисунок 3 – Фотография МДМ-структуры Mo–SixOyNz–Al и линии анализа содержания алюминия (вверху) и кремния (внизу) в области формованного канала
На основании экспериментальных данных и оценок предлагается следующая модель изменения структуры элементов МДМ-структуры в процессе электрической формовки.
На первом этапе электрической формовки происходит эмиссия электронов из микроострий отрицательного электрода по механизму Фаулера-Нордгейма. В результате взаимодействия электронов, ускоренных в сильном электрическом поле [6, 7], с атомами диэлектрика происходит образование дефектов вследствие разрыва ослабленных или деформированных связей , , . Несвязанные атомы кремния приобретают положительный заряд и усиливают локальную напряженность электрического поля, что приводит к увеличению силы тока через диэлектрический слой. Длительность данного этапа достигает нескольких минут.
С ростом концентрации дефектов в диэлектрике начинается второй этап электрической формовки [8]. При этом на локальных участках за время 10–8 – 10–6 с происходит резкое возрастание плотности тока и осуществляется плавление и испарение фрагментов металлической пленки электрода с образованием микроотверстий над формованными каналами.
Третий этап электрической формовки заключается в процессе адсорбции газов остаточной атмосферы в область формованных каналов [9, 10]. Адсорбция молекул воды и углеводородов способствует росту проводимости и качественному изменению вольтамперной характеристики тока через МДМ-структуру.
Процесс электрической формовки сопровождается самоорганизаций пространственной наноструктуры материала [11]. В результате электрической формовки в МДМ-структуре происходит образование наноструктуры, схематично представленной на рис. 4.
Рисунок 4 – МДМ-структура в результате электрической формовки
При этом можно предположить, что в области формованных каналов образуются квантовые точки на основе кремния, атомов материала верхнего электрода и адсорбированных газов остаточной атмосферы.
Выводы
Такие свойства МДМ-структуры, как эмиссия электронов в вакуум, электролюминесценция с длиной волны излучения 480 нм определяются в первую очередь свойствами квантовых точек и нанозазора между квантовыми точками (Si) и участком верхнего электрода (M) в условиях сильного электрического поля, напряженность которого составляет при напряжении 10–15 В между электродами МДМ-структуры.
About the authors
Vladimir I. Zelenskiy
Yugra State University
Author for correspondence.
Email: selenskij@gmail.com
Candidate of Technical Sciences, Assistant Professor of the Department of Physics and All-technical disciplines, Yugra State University
Russian Federation, 16, Chehova street, Khanty-Mansiysk, 628012Pavel E. Troyan
Tomsk State University of control systems and radio electronics
Email: p.e.troyan@mail.ru
Doctor of Technical Sciences, Professor of the Department Physical Electronics, Tomsk State University of control systems and radio electronics
Russian Federation, TomskReferences
- Галанский, В. Л. О природе электрической формовки тонкопленочного холодного катода [Текст] / В. Л. Галанский, П. Е. Троян, Ю. Б. Янкелевич // Радиотехника и электроника. – 1977. – Т. 22, № 6. – С. 1302–1304.
- Особенности работы матрицы ненакаливаемых тонкопленочных эмиттеров в импульсном режиме [Текст] / Г. А. Воробьев, П. И. Антоненко, В. И. Зеленский, В. В. Ефимов // Электрон. техн. ; Сер. 4.Электровакуумн. и газоразряд. приборы. – 1988. – № 3(122). – С. 25–26.
- Воробьев, Г. А. Формовка системы металл-диэлектрик-металл и ее пробой [Текст] / Г. А. Воробьев, В. И. Зеленский // Радиотехника и электроника. – 1989. – Т. 34, № 6. – С. 1312–1315.
- Biederman, H. Emission patterns at varions conditions of imaging the electron emission of Al-LiF-Au structures // Phys. Stat. Sol. (a). – 1976. – V. 36. – № 2. – P. 783–789.
- Troyan P. E., Sakharov Yu. V., Zhigal'skii A. A., Makrushin A. S. An electron-microscopic study of SiO2 films with a carbon impurity // Russian Physics Journal. – 2006. – Т. 49, № 2. – С. 219–220.
- Троян, П. Е. Эмиссионные структуры на основе формованных тонкопленочных систем [Текст] / П. Е. Троян, В. И. Зеленский // Нано- и микросистемная техника. – 2013. – № 4. – С. 9–11.
- Гуляев, П. Ю. Контроль формовки МДМ-структур наноэлектроники в сильных электрических полях [Текст] / П. Ю. Гуляев, В. И. Зеленский, Ю. В. Сахаров, П. Е. Троян // Ползуновский вестник. – 2010. – № 2. – С. 68–71.
- Баранов, А. В. Механизм электропроводности в структурах Al-Si3N4–Al [Текст] / А. В. Баранов, Л. А. Троян // Изв. вузов. Физика. – 1973. – № 10. – С. 20–24.
- Гуляев, П. Ю. Исследование плотности тока в наноструктурах металл-диэлектрик-металл [Текст] / П. Ю. Гуляев [и др.] // Ползуновский альманах. – 2011. – № 1. – С. 21–24.
- Баранов, А. В. Влияние пространственного заряда на электропроводность структур Al-Si3N4–Al [Текст] / А. В. Баранов, Л. А. Троян // Изв. вузов. Физика. – 1973. – № 5. – С. 151–153.
- Валиев, К. А. Электроформовка как процесс самоорганизации нанометрового зазора в углеродистой среде [Текст] / К. А. Валиев, В. М. Мордвинцев, В. Л. Левин // ЖТФ. – 1997. – Т. 67, № 11. – С. 39–44.
- Моделирование технологических процессов плазменного напыления покрытий наноразмерной толщины [Текст] / П. Ю. Гуляев, И. П. Гуляев // Системы управления и информационные технологии. – 2009. – № 1.1(35). – С. 144–148.
Supplementary files






