PROBLEMS OF GEOECOLOGY IN THE FIELD OF RATIONAL NON-USE OF USE AND THE WAY OF THEIR SOLUTION
- Authors: Nagaeva S.N.1
-
Affiliations:
- Associate Professor of the Oil and Gas Department of Yugra State University
- Issue: Vol 14, No 1 (2018)
- Pages: 32-37
- Section: Articles
- Published: 09.03.2018
- URL: https://vestnikugrasu.org/byusu/article/view/10290
- DOI: https://doi.org/10.17816/byusu20180132-37
- ID: 10290
Cite item
Full Text
Abstract
Full Text
Введение
Комплексная наука геоэкология находится на стыке геологии, экологии, геохимии и географии, то есть охватывает разнообразные научные направления и практические проблемы [4]. В связи с этим данная наука рассматривает и оценивает роль и значение литосферы, включая подземные воды, нефть, газ, геофизические поля и протекающие в ней геологические процессы, кроме того, она изучает влияние хозяйственной деятельности человека во всех её проявлениях. Рациональное недропользование предусматривает множество мер, направленных на защиту окружающей среды, таких как проведение рекультивации, ресурсосбережение, а в последнее время – применение современных технологий в области нефтедобычи.
Целью работы является изучение и описание влияния хозяйственной деятельности человека на окружающую среду при закачке воды в пласт при поддержании пластового давления (ППД). В данной статье на примере Ай-Пимского месторождения рассматривается современная технология одновременно-раздельной закачки (ОРЗ) воды для поддержания пластового давления в несколько пластов одновременно одной скважиной, повышающая технологическую культуру разработки месторождения, что положительно отражается на состоянии недр и окружающей среды.
Результаты
Основная часть Ай-Пимского месторождения расположена в границах Ай-Пимского лицензионного участка, небольшая часть – в нераспределенном фонде в пределах Сургутского района ХМАО – Югры. Ближайшими населенными пунктами являются поселок Нижнесортымский, города Лянтор и Сургут. Разработка месторождения возможна только при условии искусственного поддержания пластового давления, то есть закачки воды в пласт. Традиционно закачка воды в пласт при ППД производится по замкнутому циклу: после извлечения вместе с нефтью и последующего отделения подтоварная вода с большим содержанием солей вновь закачивается. Такой подход позволяет не только сократить расход закачиваемой воды, но и снизить нагрузку на окружающую среду.
Однако, как видно из графика (рис. 1), на Ай-Пимском месторождении количество закачиваемой воды превышает проектное значение в несколько раз. Кроме того, на месторождении при оценке воздействия на геологическую среду при поддержании пластового давления наблюдается активизация эндогенных и экзогенных процессов. Во-первых, трубопроводы несут в себе большое количество тепла, поэтому на поверхности развиваются термокарстовые и дефляционные процессы, происходит как подтопление и заболачивание прилегающей к нефтепромыслу территории, так и механическое уплотнение и эрозия.
Рис. 1. Динамика основных показателей разработки Ай-Пимского месторождения
Грунт как субстрат для почвообразования меняется, нарушается естественный тепловой и гидрологический баланс. Все это может дать толчок к началу других форм нарушений поверхности – развитию эоловых процессов, оврагообразования, плоскостного смыва. Во-вторых, по промысловым водоводам транспортируются минерализованные пластовые сточные воды, и при порывах разлитые по поверхности воды приводят к засолению почв и последующей гибели растений.
Промысловой практикой подтверждается, что на такие сооружения, как скважины, резервуары, факелы и прочие, приходится в сумме не более 10 % случаев загрязнения окружающей среды. В отличие от водоводов, скважины, резервуары, факелы размещаются на рабочих площадках, имеющих обваловки и другие специальные меры защиты, а также круглосуточно присутствует персонал, что облегчает локализацию и ликвидацию разливов нефти и воды. Анализ частоты аварийных разливов вод на эксплуатируемом месторождении свидетельствует о том, что более 90 % случаев засоления территории происходит именно по причине разгерметизации промысловых водоводов.
Территория Ай-Пимского месторождения является труднодоступной, поэтому при порывах водоводов сложно своевременно локализовать и ликвидировать разливы, провести рекультивацию загрязненных земель, особенно зимой. Всё это влечет значительный экологический и экономический ущерб и требует привлечения больших средств и сил. Таким образом, анализ рисков показал, что экологическая безопасность в районе разработки описываемого месторождения определяется в большей части уровнем безопасности промысловых водоводов. Недропользователем выявлены основные факторы риска аварий на них, это, прежде всего, внутренняя коррозия (до 96,6% случаев). Безусловно, при проектировании сетей промысловых трубопроводов предусматривается их оснащение специальным оборудованием для мониторинга коррозии. Система мониторинга позволяет проводить диагностирование и оценку агрессивности среды, производить расчет технологических параметров эксплуатации водоводов.
Современная технология одновременно-раздельной закачки воды в несколько пластов одной скважиной для поддержания пластового давления первоначально была направлена на снижение капитальных расходов по обустройству данной системы, в которую входят нагнетательные скважины, водоводы и кустовые насосные станции, необходимости контроля и регулирования объемов закачки воды по отдельным пропласткам эксплуатируемого объекта. Однако в связи с тем, что на Ай-Пимском месторождении имеются территории с особым правовым режимом природопользования – водоохранные зоны рек и озер, где традиционно проживают и занимаются хозяйственной деятельностью 9 семей коренных малочисленных народов Севера, недропользователем было принято решение уменьшить количество подводящих и разводящих водоводов. Для этого два продуктивных пласта были объединены в один объект разработки АС11+АС12 с развитием по нескольким направлениям:
- Расширение диапазона возможностей и повышение эффективности заводнения как основного способа воздействия на эксплуатационный объект;
- Снижение удельных расходов электроэнергии на закачку воды и действенное повышение экономичности системы ППД;
- Приведение структуры системы ППД в соответствие с новыми технологиями закачки;
- Охрана окружающей среды в связи с уменьшением протяжённости водоводов.
Компоновка одновременно-раздельной закачки позволяет по раздельным каналам насосно-компрессорных труб подавать воду под различным давлением от блока гребенки до пропластков, с разобщением пакером [3]. Регулирование и контроль объемов закачиваемой воды по пластам ведется устьевыми регуляторами и расходомерами.
Таким образом, технология ОРЗ:
- Увеличивает коэффициент нефтеотдачи пластов;
- Обеспечивает учет закачиваемой воды в каждый из пластов;
- Предупреждает межпластовые перетоки по стволу скважины в момент ее остановки и при малых репрессиях;
- Повышает эффективность методов увеличения нефтеотдачи пластов за счет использования одной скважины одновременно для поддержания пластового давления и селективной закачки агента для выравнивания профиля приемистости;
- Нестационарно воздействует на пласты, изменяя их режимы;
- Обеспечивает повышенные репрессии на низкопроницаемые нефтенасыщенные пласты с одновременным ограничением закачки воды в высокопроницаемые пласты;
- Уменьшает количество наземных водоводов, что приводит к уменьшению техногенной нагрузки на окружающую среду, улучшает её качество, обеспечивает экологическую безопасность.
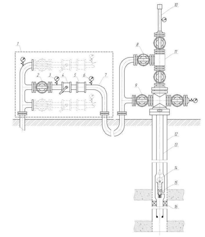
При закачке воды в пласты применяется в основном одноканальная (однотрубная) система с распределением расходов по пластам при помощи скважинных регуляторов или дросселей (рис. 2) [3].
Эксплуатация нагнетательных скважин осуществляется согласно действующим нормативно-техническим документам. Наземное и подземное оборудование отвечает проектным требованиям, устье скважин оборудуется арматурой типа АНК1-65-210.
Рис. 2. Однотрубная однопакерная компоновка для одновременно-раздельной закачки воды в два пропластка: 1 – водораспределительная гребенка; 2 – задвижка входная; 3, 6 – манометр; 4 – регулятор расхода; 5 – расходомер; 7 –водовод нагнетательный; 8 – задвижка нагнетательного водовода; 9 – задвижка затрубья; 10 – лубрикатор; 11 – устьевая арматура; 12 – эксплуатационная колонна; 13 – колонна НКТ; 14 – дроссель верхнего пласта; 15 – КОРЗ-2; 16 – пакер самоопрессовочный
Закачку воды в скважины производят по колонне насосно-компрессорных труб диаметром 73 мм с установкой над интервалом перфорации пакера в соответствии с СТО 28-2012 «Технология использования пакера и порядок работы с ними в нагнетательных скважинах» [3].
При однотрубной компоновке вода через распределительную гребенку 1 (рис. 2) подается в скважину по одной колонне труб 13 (73 мм). На глубине верхнего пласта часть объема воды из колонны НКТ 13 через специальное оборудование (КОРЗ) поступает в затрубное пространство и далее в верхний пропласток. Другая часть объема воды поступает в нижний пропласток. Регулирование приемистости по пропласткам производится с помощью сбрасываемых дросселей [3].
Регулирование и контроль объемов закачиваемой воды по пластам ведется устьевыми регуляторами и расходомерами. Промышленное производство оборудования для двухтрубной компоновки организовано ООО «Югсон-Сервис» (г. Тюмень), однотрубной компоновки ООО «Нефтех», г. Тюмень [3].
Двухтрубная компоновка ОРЗ (рис. 3) позволяет по раздельным каналам НКТ подавать воду под различным давлением от распределительной гребенки до разобщенных пакером пропластков.
Рис. 3. Двухтрубная компоновка для ОРЗ воды в два пропластка:1 – регулятор расхода; 2 – расходомер; 3 – манометр; 4 – задвижка; 5 – планшайба подвески внутренней колонны труб; 6 – эксплуатационная колонна; 7 – внешняя колонна труб; 8 – внутренняя колонна труб; 9 – верхний пакер; 10 – фильтр; 11 – разъединитель; 12 – пакер самоопрессовочный
Выводы
Итак, одновременно-раздельная закачка – это современная технология, включающая использование интеллектуальных скважин с многопакерно-секционными компоновками для дифференциальной закачки в геологически разнородные эксплуатационные объекты [2].
Внедряя ОРЗ, можно оптимизировать систему ППД, повышая её эффективность, что в перспективе должно обеспечить на месторождении проектные объемы закачиваемой воды для поддержания пластового давления. Рассматривая данную технологию через призму проблем геоэкологии в области недропользования, мы видим, что одновременно-раздельная закачка ликвидирует противоречие «экономических соображений» и охраны окружающей среды и недр при выборе эксплуатационных объектов.
В заключение важно подчеркнуть, что различные направления работ в области рационального недропользования, конечно, не исчерпывают всех задач, которые рассматривает геоэкология. Все проявления техногенных изменений в недрах при поиске, разведке и разработке нефтяных месторождений могут быть очень разнообразными и приводить ко многим не всегда прогнозируемым последствиям. Актуальность задачи комплексного использования и охраны недр требует усиления внимания как к обеспечению контроля выполнения мероприятий по охране окружающей среды, так и технологий, предусматривающих сокращение техногенного воздействия на неё. Прогрессивная технология одновременно-раздельной закачки воды в пласт позволяет свести к минимуму воздействие эксплуатируемых объектов на окружающую среду.
About the authors
Svetlana Nikolaevna Nagaeva
Associate Professor of the Oil and Gas Department of Yugra State University
Author for correspondence.
Email: nagaeva_sn@mail.ru
Доцент кафедры нефтегазового дела
Russian Federation, 628012, г. Ханты-Мансийск, ул. Чехова, 16References
- Акульшин, А. И., Эксплуатация нефтяных и газовых скважин [Текст] / А. И. Акульшин, В. С. Бойко. - М. : Недра, 1989. - 480 с.
- Барышников, А. В. Опыт применения и перспективы развития технологии одновременно-раздельной закачки на Южно-Приобской лицензионной территории [Текст] / А. В. Барышников, Д. Р. Галеев, О. М. Гарипов, О. А. Кофанов // Нефтяное хозяйство. - 2010. - № 7. - С. 22-29.
- Технико-экономическое обоснование коэффициентов извлечения нефти Ай-Пимского месторождения [Текст] / А. Н. Юрьев, В. И. Кушнир ; ТО СургутНИПИнефть. - Тюмень, 2008.
- Теория и методология экологической геологии [Текст] / кол. авторов ; под ред. В. Т. Трофимова. - М. : Изд-во МГУ, 1997. - 210 с.
Supplementary files






